


NORRES AIRDUC® PUR 350 AS BLACK (MD)
Antystatyczny czarny wąż PUR do strefy ATEX 22 i zastosowań przemysłowych
NORRES AIRDUC® PUR 350 AS BLACK (MD) to wytrzymały i elastyczny wąż z antystatycznego poliuretanu (Pre-PUR®), przeznaczony do transportu, odciągu i wentylacji w środowiskach przemysłowych z ryzykiem wybuchu pyłu.
Czarna wersja łączy wysoką wytrzymałość mechaniczną z doskonałą elastycznością i nadaje się idealnie do transportu pyłów, granulatów, proszków oraz oparów w systemach procesowych, piaskujących i wentylacyjnych.
Solidna i elastyczna konstrukcja
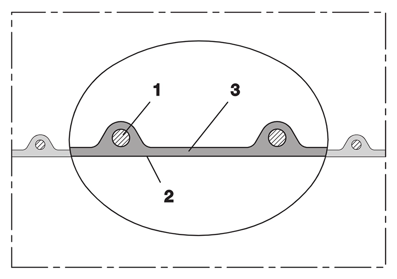
Profil AIRDUC® składa się z zatopionego drutu stalowego (1) oraz antystatycznej warstwy z poliuretanu estrowego (2) o gładkiej powierzchni wewnętrznej (3), co zapewnia niską wagę, dużą elastyczność i optymalny przepływ powietrza.
Wąż jest odporny na oleje, chemikalia i drobnoustroje oraz zachowuje elastyczność nawet w niskich temperaturach.
Zakres temperatur: −40 °C do +90 °C (krótkotrwale do +125 °C).
Grubość ścianki ok. 0,7 mm.
Certyfikaty i normy
Antystatyczny zgodnie z ISO 8031 (rezystancja powierzchniowa i objętościowa < 10⁹ Ω).
Dopuszczony do stosowania w strefie ATEX 22 (wewnątrz – pyły) oraz w strefach 1 i 2 (gazy i opary) zgodnie z TRGS 727 i ATEX 2014/34/EU.
Zgodny z RoHS i REACH.
Norma: DIN 26057 Typ 2.
Zastosowania
Typowe zastosowania:
- Odciąg i transport pyłów, proszków i granulatów w strefie ATEX 22
- Obróbka powierzchni, piaskowanie i odzysk materiałów ściernych
- Wentylacja w pomieszczeniach czystych i produkcji półprzewodników
- Odciąg z systemów filtracyjnych, odpylających i nadmuchowych
- Wentylacja przemysłowa, połączenia z dmuchawami i pompami
- Maszyny w branży tekstylnej, drukarskiej i elektronicznej
Rekomendowane akcesoria
Dla bezpiecznego montażu i prawidłowego uziemienia zaleca się następujące akcesoria NORRES:
- CLAMP 213 / 217 / 210 – stalowe obejmy zaciskowe do zastosowań przemysłowych
- CONNECT 245 AS / 246 AS – antystatyczne złącza do instalacji ATEX
- CONNECT 270-271 – standardowe złącza ze stali nierdzewnej
- CONNECT 240 + 241 AS – złącza przejściowe i adaptery
Potrzebujesz pomocy technicznej?
Skontaktuj się z nami, aby uzyskać doradztwo w zakresie doboru, montażu i integracji elastycznych węży antystatycznych w systemach ATEX i procesowych.
FAQ: NORRES AIRDUC® PUR 350 AS BLACK (MD)
Do czego służy ten wąż?
Do odciągu i transportu pyłów, proszków i granulatów w strefie ATEX 22 oraz w systemach wentylacyjnych.
Czy przewodzi prąd elektryczny?
Nie – wąż jest antystatyczny (< 10⁹ Ω) i przeznaczony do strefy 22, nie do strefy 20.
Dlaczego jest czarny?
Czarny pigment zwiększa odporność na promieniowanie UV i wydłuża trwałość węża w środowiskach przemysłowych.
Powiązane artykuły
Dane techniczne
| Średnica wewn. (mm) | Średnica zewn. (mm) | Ciśnienie (bar) | Waga (kg/m) | Długość (m) | Nr zamówienia |
|---|---|---|---|---|---|
| 40 | 47.0 | 1.55 | 0.33 | 10 | 350-0040-3030 |
| 50–51 | 57.0 | 1.25 | 0.40 | 10 | 350-0050-3030 |
| 60 | 67.0 | 1.05 | 0.48 | 10 | 350-0060-3030 |
| 70 | 77.0 | 0.90 | 0.56 | 10 | 350-0070-3030 |
| 75–76 | 82.0 | 0.84 | 0.59 | 10 | 350-0075-3030 |
| 80 | 87.0 | 0.79 | 0.64 | 10 | 350-0080-3030 |
| 100–102 | 107.0 | 0.64 | 0.80 | 10 | 350-0100-3030 |
| 120 | 127.0 | 0.53 | 0.95 | 10 | 350-0120-3030 |
| 125–127 | 132.0 | 0.51 | 0.98 | 10 | 350-0125-3030 |
| 140 | 147.0 | 0.46 | 1.09 | 10 | 350-0140-3030 |
| 150–152 | 157.0 | 0.43 | 1.40 | 10 | 350-0150-3030 |
| 160 | 167.0 | 0.40 | 1.50 | 10 | 350-0160-3030 |
| 200–203 | 207.0 | 0.32 | 1.86 | 10 | 350-0200-3030 |
| 250 | 257.0 | 0.26 | 2.31 | 10 | 350-0250-3030 |
Ciśnienia robocze i podciśnienia są wartościami zalecanymi. Promień gięcia mierzony po wewnętrznej stronie łuku. Zastrzegamy prawo do zmian technicznych. Wszystkie wartości przy 20 °C.




