


NORRES AIRDUC® PUR 350 AS (MD)
Antystatyczny wąż PUR do strefy ATEX 22 i zastosowań przemysłowych
NORRES AIRDUC® PUR 350 AS (MD) to elastyczny i bardzo wytrzymały wąż z antystatycznego poliuretanu (Pre-PUR®), przeznaczony do transportu, odciągu i wentylacji w środowiskach przemysłowych z ryzykiem wybuchu pyłu.
Doskonale nadaje się do transportu pyłów, proszków, granulatów i oparów w branżach takich jak chemiczna, elektroniczna, poligraficzna, obróbka powierzchni i tekstylna.
Elastyczna i odporna konstrukcja
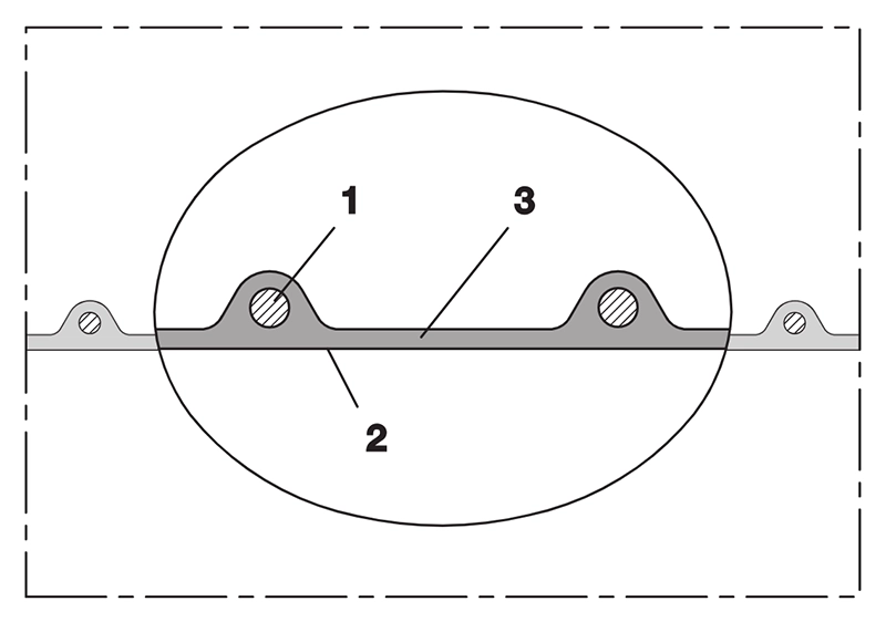
Profil AIRDUC® składa się z zatopionego drutu stalowego (1) oraz antystatycznej warstwy z poliuretanu estrowego (2) z gładką powierzchnią wewnętrzną (3), co zapewnia niską wagę, dużą elastyczność i doskonały przepływ powietrza.
Wąż jest odporny na drobnoustroje, oleje i chemikalia oraz trudnopalny zgodnie z UL94-V2 i DIN 4102-B1.
Zakres temperatur: −40 °C do +90 °C (krótkotrwale do +125 °C).
Grubość ścianki ok. 0,7 mm.
Certyfikaty i normy
Antystatyczny zgodnie z ISO 8031 (rezystancja powierzchniowa i objętościowa < 10⁹ Ω).
Przeznaczony do strefy ATEX 22 (wewnątrz – pyły) oraz stref 1 i 2 (gazy i opary) zgodnie z TRGS 727 i ATEX 2014/34/EU.
Zgodny z RoHS i REACH oraz spełnia wymagania niemieckiego stowarzyszenia przemysłu drzewnego (BG Holz).
Norma: DIN 26057 Typ 2.
Zastosowania
Typowe zastosowania:
- Odciąg i transport pyłów, proszków i granulatów w strefie ATEX 22
- Maszyny PCB i drukarskie (zasilanie i odciąg powietrza)
- Odciąg z kabin lakierniczych, urządzeń do piaskowania i szlifierek
- Wentylacja w pomieszczeniach czystych i produkcji półprzewodników
- Podłączenia do kompresorów, pomp próżniowych i dmuchaw
- Zamiatarki i przemysłowe systemy czyszczące
Rekomendowane akcesoria
Dla bezpiecznego montażu i prawidłowego uziemienia zaleca się następujące akcesoria NORRES:
- CLAMP 213 / 217 / 210 – stalowe obejmy zaciskowe do zastosowań przemysłowych
- CONNECT 245 AS / 246 AS – antystatyczne złącza do instalacji ATEX
- CONNECT 270-271 – standardowe złącza ze stali nierdzewnej
- CONNECT 240 + 241 AS – złącza przejściowe i adaptery
Potrzebujesz pomocy technicznej?
Skontaktuj się z nami, aby uzyskać doradztwo w zakresie doboru, montażu i integracji elastycznych węży antystatycznych do systemów odciągu, wentylacji i procesowych.
FAQ: NORRES AIRDUC® PUR 350 AS (MD)
Do czego służy ten wąż?
Do odciągu i transportu pyłów, proszków i granulatów w strefie ATEX 22.
Czy jest trudnopalny?
Tak – spełnia wymagania UL94-V2 i DIN 4102-B1.
Czy przewodzi elektryczność?
Nie – wąż jest antystatyczny (< 10⁹ Ω) i przeznaczony do strefy 22, nie do strefy 20.
Powiązane artykuły
Dane techniczne
| Średnica wewn. (mm) | Średnica zewn. (mm) | Ciśnienie (bar) | Waga (kg/m) | Długość (m) | Nr zamówienia |
|---|---|---|---|---|---|
| 25 | 32.0 | 2.45 | 0.20 | 5–15 | 350-0025-1002 |
| 32 | 39.0 | 1.93 | 0.25 | 5–15 | 350-0032-1002 |
| 38 | 45.0 | 1.64 | 0.29 | 5–15 | 350-0038-1002 |
| 50 – 51 | 57.0 | 1.25 | 0.38 | 5–15 | 350-0050-1002 |
| 65 | 70.0 | 0.97 | 0.48 | 5–15 | 350-0065-1002 |
| 75 – 76 | 82.0 | 0.84 | 0.55 | 5–15 | 350-0075-1002 |
| 100 – 102 | 107.0 | 0.64 | 0.85 | 5–15 | 350-0100-1002 |
| 125 – 127 | 132.0 | 0.51 | 1.05 | 5–15 | 350-0125-1002 |
| 150 – 152 | 157.0 | 0.43 | 1.28 | 5–15 | 350-0150-1002 |
| 200 – 203 | 207.0 | 0.32 | 1.70 | 5–15 | 350-0200-1002 |
| 250 | 257.0 | 0.26 | 2.11 | 5–15 | 350-0250-1002 |
Ciśnienia robocze i podciśnienia są wartościami zalecanymi. Promień gięcia mierzony po wewnętrznej stronie łuku. Zastrzegamy prawo do zmian technicznych. Wszystkie wartości przy 20 °C.




