


NORRES AIRDUC® PUR-INOX 351 FOOD-AS (MD)
Antystatyczny wąż PUR do kontaktu z żywnością ze spiralą ze stali nierdzewnej – średnia wytrzymałość
NORRES AIRDUC® PUR-INOX 351 FOOD-AS (MD) to elastyczny, antystatyczny i wyjątkowo trwały wąż do transportu suchych produktów spożywczych, proszków, granulatów i gazów w środowiskach higienicznych oraz strefach ATEX. Wąż posiada zatopioną spiralę ze stali sprężynowej (INOX) oraz trwale antystatyczną ściankę z poliuretanu eterowego (Pre-PUR®), łączącą dużą wytrzymałość mechaniczną z czystością i elastycznością.
Zastosowanie
Stosowany w przemyśle spożywczym i farmaceutycznym do transportu pneumatycznego, systemów dozujących, opróżniania big-bagów, mieszalników, przesiewaczy, suszarni oraz maszyn pakujących. Odpowiedni do transportu produktów spożywczych, takich jak ryż, zboża, cukier, kawa, herbata, mleko w proszku czy mąka – również w strefach zagrożonych wybuchem (wewnątrz stref 20, 21, 22).
Właściwości i certyfikaty
- Konstrukcja o średniej wytrzymałości, bardzo odporna na ścieranie
- Trwale antystatyczna ścianka zgodnie z ISO 8031 (<10⁹ Ω)
- Zgodność z ATEX 2014/34/EU i TRGS 727 dla transportu pyłów i materiałów sypkich
- Materiały dopuszczone do kontaktu z żywnością: EU 10/2011, EC 1935/2004, EU 2015/174 oraz FDA 21 CFR 177.2600
- Bez zapachu i smaku, odporność na mikroby i hydrolizę
- Dobra odporność na oleje, benzynę i środki chemiczne
- Zakres temperatur: −40 °C do +90 °C (krótkotrwale do +125 °C)
- Grubość ścianki ok. 1,0 mm
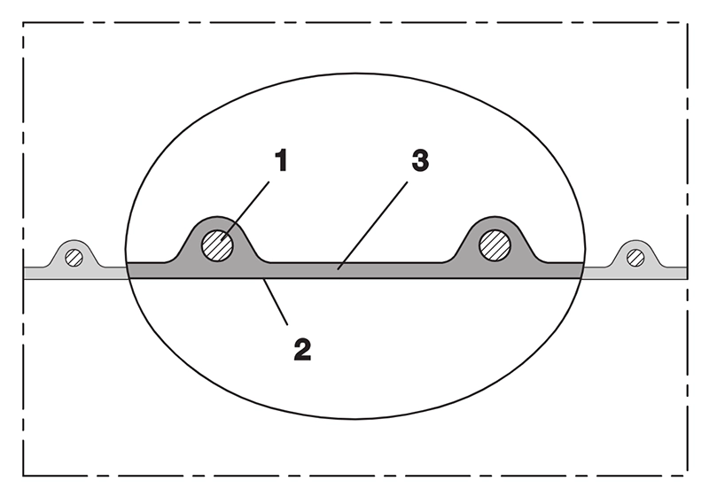
Budowa
1 = Spiralna stal sprężynowa (INOX)
2 = Trwale antystatyczna ścianka z eterowego PUR (Pre-PUR®)
3 = Profil AIRDUC® z gładką powierzchnią wewnętrzną i zewnętrzną dla optymalnego przepływu i łatwego czyszczenia.
Rekomendowane akcesoria
- CONNECT 270-271 – higieniczne złącza ze stali nierdzewnej
- CONNECT 228 – złącza przejściowe i adaptery
- CLAMP 210 / 212 – opaski zaciskowe ze stali nierdzewnej do instalacji spożywczych
- CONNECT 245 FOOD – złącze Tri-Clamp ze stali nierdzewnej
Skontaktuj się z nami, aby uzyskać poradę dotyczącą prawidłowego montażu, uziemienia i instalacji zgodnej z ATEX.
Potrzebujesz pomocy technicznej?
Skontaktuj się z nami, aby uzyskać wsparcie w doborze, montażu i integracji elastycznych węży spożywczych i antystatycznych w systemach procesowych lub transportowych.
FAQ: NORRES AIRDUC® PUR-INOX 351 FOOD-AS (MD)
Do czego służy ten wąż?
Do transportu, odsysania i podawania próżniowego suchych produktów spożywczych, proszków i granulatów w przemyśle spożywczym i farmaceutycznym.
Czy jest antystatyczny?
Tak – ścianka jest trwale antystatyczna (<10⁹ Ω wg ISO 8031) i spełnia wymagania ATEX oraz TRGS 727 dla stref 20–22 (pyły wewnątrz).
Czy nadaje się do kontaktu z żywnością?
Tak – cały wąż jest certyfikowany zgodnie z EU 10/2011, EC 1935/2004, EU 2015/174 oraz FDA 21 CFR 177.2600.
Jakie złącza są zalecane?
NORRES CONNECT 270-271 lub CONNECT 245 FOOD oraz CLAMP 210 / 212 do higienicznego i przewodzącego montażu.
Powiązane linki
Dane techniczne
| Średnica wewn. (mm) | Średnica zewn. (mm) | Ciśnienie (bar) | Podciśnienie (bar) | Promień gięcia (mm) | Masa (kg/m) | Długość (m) | Nr zamówienia |
|---|---|---|---|---|---|---|---|
| 25 | 33.0 | 2.64 | 0.68 | 22 | 0.22 | 5–10 | 351-0025-1018 |
| 32 | 40.0 | 2.09 | 0.44 | 28 | 0.28 | 5–10 | 351-0032-1018 |
| 38 | 46.0 | 1.78 | 0.37 | 32 | 0.32 | 5–10 | 351-0038-1018 |
| 50–51 | 58.0 | 1.37 | 0.29 | 39 | 0.41 | 5–10 | 351-0050-1018 |
| 60 | 68.0 | 1.15 | 0.24 | 45 | 0.49 | 5–10 | 351-0060-1018 |
| 65 | 73.0 | 1.06 | 0.22 | 48 | 0.59 | 5–10 | 351-0065-1018 |
| 75–76 | 84.0 | 0.92 | 0.14 | 55 | 0.64 | 5–10 | 351-0075-1018 |
| 80 | 89.0 | 0.87 | 0.13 | 58 | 0.68 | 5–10 | 351-0080-1018 |
| 100–102 | 109.0 | 0.70 | 0.11 | 70 | 0.97 | 5–10 | 351-0100-1018 |
| 125–127 | 134.0 | 0.56 | 0.09 | 85 | 1.20 | 5–10 | 351-0125-1018 |
| 150–152 | 159.0 | 0.47 | 0.08 | 100 | 1.52 | 5–10 | 351-0150-1018 |
| 200–203 | 209.0 | 0.35 | 0.06 | 133 | 2.03 | 5–10 | 351-0200-1018 |
Podane wartości nadciśnienia i podciśnienia to zalecane granice robocze. Promień gięcia mierzony po wewnętrznej stronie łuku. Zastrzegamy prawo do zmian technicznych. Wszystkie wartości podano dla 20 °C.




