


NORRES AIRDUC® PUR-INOX 355 FOOD-AS (HD)
Antystatyczny wąż PUR do zastosowań spożywczych i farmaceutycznych z drutem ze stali nierdzewnej – heavy duty
NORRES AIRDUC® PUR-INOX 355 FOOD-AS (HD) to wyjątkowo wytrzymały i elastyczny wąż z eterowego poliuretanu (Pre-PUR®) z wbudowaną spiralą ze stali nierdzewnej (INOX). Przeznaczony do transportu suchych produktów spożywczych, proszków, granulatów i gazów w wymagających procesach przemysłowych – również w strefach ATEX i w środowiskach farmaceutycznych.
Zastosowanie
Idealny do przemysłu spożywczego i farmaceutycznego: transport i odsysanie produktów sypkich, opróżnianie big-bagów, systemy dozujące, maszyny pakujące, suszarnie, transport ryżu, zbóż, cukru, kawy, herbaty, mleka w proszku, mąki i innych suchych surowców. Może być stosowany w strefach zagrożonych wybuchem (ATEX – strefa 20/21/22 wewnątrz).
Właściwości i certyfikaty
- Konstrukcja heavy duty o bardzo wysokiej odporności na ścieranie.
- Trwale antystatyczne ścianki: oporność powierzchniowa < 10⁹ Ω zgodnie z ISO 8031.
- W pełni zgodny z dyrektywami UE 10/2011, EC 1935/2004, EU 2015/174 oraz FDA 21 CFR 177.2600 – materiał klasy spożywczej.
- Odporny na oleje, benzynę, chemikalia, mikroorganizmy i hydrolizę.
- Zakres temperatur: −40 °C do +90 °C (krótkotrwale +125 °C).
- Spirala ze stali nierdzewnej INOX dla większej stabilności i higieny.
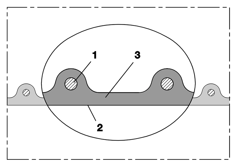
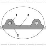
Budowa
1 = spirala ze stali nierdzewnej (INOX)
2 = ścianka z antystatycznego eter-poliuretanu (Pre-PUR®)
3 = profil AIRDUC® z gładką powierzchnią wewnętrzną i zewnętrzną dla optymalnego przepływu i czyszczenia.
Zalecane akcesoria
- CLAMP 210 / 212 – obejma ze stali nierdzewnej z możliwością uziemienia
- CONNECT 228 – złączki i adaptery do łączenia węży
- CONNECT 270-271 – higieniczne złącza ze stali nierdzewnej
- CONNECT 245 FOOD – złącze Tri-Clamp ze stali nierdzewnej
Skontaktuj się z nami, aby uzyskać poradę techniczną dotyczącą montażu i uziemienia instalacji zgodnej z ATEX.
Potrzebujesz pomocy technicznej?
Skontaktuj się z nami, aby uzyskać profesjonalne doradztwo w zakresie doboru, montażu i integracji elastycznych węży antystatycznych i spożywczych w systemach transportu materiałów sypkich.
FAQ: NORRES AIRDUC® PUR-INOX 355 FOOD-AS (HD)
Do czego służy ten wąż?
Do transportu i odsysania suchych produktów spożywczych, proszków i granulatów w instalacjach przemysłu spożywczego i farmaceutycznego oraz w strefach ATEX.
Czy wąż jest antystatyczny?
Tak – ścianka jest trwale antystatyczna (< 10⁹ Ω) zgodnie z ISO 8031 i spełnia wymagania dla stref 20/21/22 (pyły wewnątrz).
Czy jest zgodny z przepisami spożywczymi?
Tak – cały wąż został zatwierdzony zgodnie z dyrektywą UE 10/2011 i FDA 21 CFR 177.2600.
Jaki jest zakres temperatur i parametry ciśnienia?
Od −40 °C do +90 °C (krótkotrwale +125 °C). Parametry ciśnienia i podciśnienia zależne od średnicy – patrz tabela techniczna.
Jakie akcesoria zalecane są do montażu?
CLAMP 210/212 z uziemieniem oraz złącza CONNECT 228 i CONNECT 270-271 – w zależności od systemu. Montaż powinien zapewniać pełne uziemienie i zgodność z ATEX.
Dane techniczne
| Średnica wew. (mm) | Średnica zew. (mm) | Ciśnienie (bar) | Podciśnienie (bar) | Promień gięcia (mm) | Masa (kg/m) | Nr zam. |
|---|---|---|---|---|---|---|
| 25 | 32.00 | 3,565 | 1,000 | 20 | 0,28 | 355-0025-1018 |
| 32 | 42.00 | 3,490 | 1,000 | 26 | 0,44 | 355-0032-1018 |
| 38 | 48.00 | 2,975 | 0,985 | 29 | 0,52 | 355-0038-1018 |
| 40 | 50.00 | 2,835 | 0,935 | 30 | 0,54 | 355-0040-1018 |
| 50–51 | 60.00 | 2,300 | 0,750 | 35 | 0,66 | 355-0050-1018 |
| 55 | 65.00 | 2,100 | 0,680 | 38 | 0,72 | 355-0055-1018 |
| 60 | 70.00 | 1,930 | 0,625 | 40 | 0,78 | 355-0060-1018 |
| 63-65 | 75.00 | 1,790 | 0,575 | 43 | 0,84 | 355-0065-1018 |
| 70 | 81.00 | 1,665 | 0,505 | 62 | 0,98 | 355-0070-1018 |
| 75-76 | 86.00 | 1,560 | 0,475 | 66 | 1,05 | 355-0075-1018 |
| 80 | 91.00 | 1,465 | 0,450 | 69 | 1,11 | 355-0080-1018 |
| 89-90 | 101.00 | 1,305 | 0,395 | 76 | 1,30 | 355-0090-1018 |
| 100-102 | 111.00 | 1,180 | 0,385 | 83 | 1,49 | 355-0100-1018 |
| 125-127 | 136.00 | 0,950 | 0,305 | 101 | 1,84 | 355-0125-1018 |
| 150-152 | 161.00 | 0,795 | 0,285 | 118 | 2,41 | 355-0150-1018 |
| 160 | 172.00 | 0,745 | 0,265 | 125 | 2,56 | 355-0160-1018 |
| 178-180 | 191.00 | 0,665 | 0,235 | 139 | 2,90 | 355-0180-1018 |
| 200-203 | 213.00 | 0,600 | 0,145 | 156 | 3,12 | 355-0200-1018 |
Podane wartości ciśnienia i podciśnienia są zalecanymi granicami roboczymi. Promień gięcia mierzony wewnątrz łuku węża. Zastrzegamy prawo do zmian technicznych. Wszystkie wartości określone dla +20 °C.




