


NORRES CP PTFE/GLASS-INOX 471 EC
Elektrisk ledende, kemikalieresistent slange med dobbelt lag – CP PTFE/GLASS-INOX 471 EC
NORRES CP PTFE/GLASS-INOX 471 EC er en meget fleksibel, elektrisk ledende slangetype med klapprofil og dobbelt lag, beregnet til applikationer med høje krav til kemikalieresistens, varmebestandighed og sikker potentialudligning. Slangen tåler op til +270 °C og er udviklet til transport af både varme/kulde gasser, støvpartikler, fibre og kemiske dampe i eksplosionsfarlige områder og krævende industrimiljøer.
Anvendelsesområder
Slangen anvendes typisk til:
- Fleksibel slange/kanal for varme og kolde gasser samt støv, pulver og fibre
- Kemisk industri: kemiske dampe, returledning ved påfyldningsarme, malingdamp, sprøjetåge-udsugning
- Eksplosionsfarlige områder – egnet til ATEX zone 22 (inde i slangen) og zone 0, 1 og 2 for gas
Teknisk note: Slangen opfylder normer for aspiration af brændbart støv (ATEX 2014/34/EU, 1999/92/EC, TRGS 727), RoHS og REACH. Kan bestilles i øvrige længder og dimensioner ved forespørgsel.
Egenskaber og godkendelser
- Abradérbeskyttelse via udvendig klapprofil
- Fast og sikker fastspænding af væg i klapprofil
- Ekstremt fleksibel og sammenpresselig (4:1)
- Meget god varmebestandighed – drift op til 250 °C, kortvarigt 270 °C, kan bruges ned til -150 °C
- Anti-adhæsiv og særdeles god resistens overfor kemikalier, alkali og syrer
- Indvendig PTFE-film med overflademodstand < 10⁶ Ω
- Opfylder ATEX 2014/34/EU, TRGS 727 og RoHS/REACH
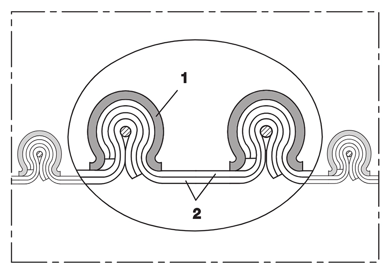
Opbygning
1 = Klapprofilbund af rustfrit stål (INOX)
2 = Væg: indvendig halvledende PTFE-folie, udvendig specialcoatet glasvæv
Anbefalet tilbehør
- CLAMP 212, CLAMP 217, CLAMP 213 – spændebånd for montage og potentielle udligning
- CONNECT 228, CONNECT 270–271 – adaptere og koblinger til procesintegration
Har du brug for teknisk hjælp?
Kontakt os for rådgivning om korrekt slangevalg, montage, potentialudligning og ATEX-integration i dine anlæg.
FAQ: NORRES CP PTFE/GLASS-INOX 471 EC
Hvor bruges denne slange?
Til transport af varme og kolde gasser, kemiske dampe og støv i procesanlæg, kemiske systemer og områder med ATEX-krav.
Er slangen elektrisk ledende?
Ja, væggen har indvendig halvledende PTFE-folie med lav overflademodstand, opfylder ATEX og TRGS 727.
Hvordan er slangen resistent mod varme og kemikalier?
Den tåler op til 250 °C i kontinuerlig drift og kortvarigt +270 °C; yderst resistent overfor alkali, syre og kemikalier.
Hvilke godkendelser opfyldes?
ATEX 2014/34/EU, TRGS 727, RoHS, REACH.
Hvilket tilbehør anbefales?
CLAMP 212/213/217 og CONNECT 228/270–271 for korrekt montage og udligning.
Relaterede links
Tekniske specifikationer
| Indv. diameter (mm) | Udvendig diameter (mm) | Tryk (bar) | Vakuum (bar) | Bøjningsradius (mm) | Vægt (kg/m) | Bestillingsnr. |
|---|---|---|---|---|---|---|
| 50-51 | 62.0 | 0,41 | 0,30 | 18 | 0,61 | 471-0050-1003 |
| 70 | 82.0 | 0,34 | 0,21 | 22 | 0,83 | 471-0070-1003 |
| 75-76 | 87.0 | 0,325 | 0,18 | 24 | 0,88 | 471-0075-1003 |
| 100-102 | 112.0 | 0,195 | 0,10 | 28 | 0,86 | 471-0100-1003 |
| 110 | 122.0 | 0,185 | 0,085 | 30 | 0,95 | 471-0110-1003 |
| 114-115 | 127.0 | 0,18 | 0,08 | 32 | 0,99 | 471-0115-1003 |
| 120 | 132.0 | 0,175 | 0,075 | 32 | 1,03 | 471-0120-1003 |
| 150-152 | 162.0 | 0,11 | 0,04 | 38 | 0,86 | 471-0150-1003 |
| 160 | 172.0 | 0,105 | 0,035 | 40 | 0,91 | 471-0160-1003 |
| 200-203 | 212.0 | 0,09 | 0,025 | 48 | 1,13 | 471-0200-1003 |
| 215 | 227.0 | 0,085 | 0,02 | 52 | 1,21 | 471-0215-1003 |
| 300 | 312.0 | 0,055 | 0,01 | 68 | 1,68 | 471-0300-1003 |
Overtryk og undertryk er anbefalede driftsgrænser. Bøjningsradius måles indvendigt. Ret til tekniske ændringer forbeholdes. Alle værdier er målt ved ca. 20 °C.





