


NORRES TIMBERDUC® PUR 533 AS (MD)
Antistatisk og flammehæmmende PUR-slange til træ- og møbelindustrien – medium duty
NORRES TIMBERDUC® PUR 533 AS (MD) er en robust, antistatisk og flammehæmmende suge- og transportslange til udsugning af træstøv og spåner i træ- og møbelproduktion. Slangen har høj slidstyrke, øget tryk-/vakuumresistens og en glat indvendig væg for effektivt flow og lav friktion i dedusterings- og filtersystemer.
Anvendelsesområder
Slangen anvendes typisk til:
- Udsugning af træstøv og spåner ved save, høvle, kant- og fræsemaskiner
- Dedusterings- og filtersystemer i træforarbejdning og møbelproduktion
- Udsugning fra parketslibere, CNC-maskiner og overfladebearbejdning
- Olie- og tågeudsugning samt pneumatiske transportsystemer
- Eksplosionsfarlige områder med brændbart støv (Zone 22)
Teknisk note: Slangen er egnet, når det støv og de spåner, der føres igennem slangen, kan være klassificeret som ATEX-zone 20, 21 eller 22 inde i slangen (materialestrømmen). Omgivelsernes zoneklassificering vurderes separat i anlæggets ATEX-risikovurdering.
Egenskaber og godkendelser
- Heavy-duty konstruktion med høj slidstyrke og øget tryk-/vakuumresistens
- Permanente antistatiske vægge – overflademodstand < 10⁹ Ω iht. ISO 8031 (TRGS 727)
- Flammehæmmende iht. DIN 4102-B1
- God resistens mod olie, benzin og kemikalier; mikroberesistent
- Temperaturområde: −40 °C til +90 °C (kortvarigt op til +125 °C)
- I overensstemmelse med ATEX 2014/34/EU og tyske TRGS 727 for pneumatiske systemer med brændbart støv
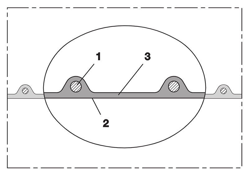
Opbygning
1 = Fjederstålspiral fast indlejret i væggen
2 = Væg af permanent antistatisk premium polyurethan (Pre-PUR®), resistent mod aggressive træsorter og trækonserveringsmidler
3 = AIRDUC®-profil med glat inderside for lav friktion og let rengøring
Vægtykkelse ca. 0,7 mm. Opfylder DIN 26057 Type 2 for træstøv- og spånsugeslanger.
Faglig note
I træindustrien kombineres ATEX-krav med branchespecifik praksis: Zoneklassificering følger typisk EN 60079-10-2 og TRGS 727 (elektrostatik). For slanger til træstøv læner mange sig op ad DIN 26057 Type 2 samt BG-retningslinjer for udsugningsanlæg. TIMBERDUC® 533 AS (MD) adresserer disse krav via permanent antistatisk væg, flammehæmning (DIN 4102-B1) og mekanisk robusthed. Korrekt potentiel udligning/jordforbindelse og ensartet ledende forbindelse mellem maskine, slange og filter er forudsætninger i ATEX-installationen.
Anbefalet tilbehør
- CLAMP 210 / 212 / 213 / 217 – spændebånd med mulighed for potentiel udligning
- CONNECT 228 / 233 – adapter- og formstøbte koblinger
- CONNECT 240–246 AS – gevind- og systemkoblinger til pneumatiske/udsugningsanlæg
- CONNECT 270–271 – rustfri hygiejniske koblinger (hvor relevant)
Har du brug for teknisk hjælp?
Kontakt os for rådgivning om korrekt slangevalg, montage, potentiel udligning og ATEX-kompatibel integration i dine udsugnings- og filtersystemer.
FAQ: NORRES TIMBERDUC® PUR 533 AS (MD)
Hvad bruges denne slange til?
Til udsugning af træstøv og spåner i træ- og møbelindustrien (save, høvle, fræse- og kantbearbejdning, parketslibere, CNC) samt i dedusterings- og filtersystemer, også i områder med Zone 22-støv.
Hvordan forholder den sig til ATEX?
Slangen anvendes, hvor materialestrømmen inde i slangen kan udgøre en eksplosionsfare (klassificeret som ATEX-zone 20/21/22 inde i slangen). Omgivelsernes zone fastlægges i din ATEX-risikovurdering, og korrekt jordforbindelse/udligning er påkrævet.
Er slangen antistatisk og flammehæmmende?
Ja. Permanent antistatisk væg (< 10⁹ Ω, ISO 8031 / TRGS 727) og flammehæmning iht. DIN 4102-B1.
Hvad er temperatur- og tryk-/vakuumgrænser?
Temperatur −40 °C til +90 °C (kortvarigt +125 °C). Tryk- og vakuumværdier afhænger af diameter (se teknisk tabel).
Hvilket tilbehør anbefales?
CLAMP 210/212/213/217 samt CONNECT 228/233/240–246 AS og CONNECT 270–271 afhængigt af anlæg og krav til udligning/jordforbindelse.
Relaterede links
Tekniske specifikationer
| Indv. diameter (mm) | Udvendig diameter (mm) | Tryk (bar) | Vakuum (bar) | Bøjningsradius (mm) | Vægt (kg/m) | Bestillingsnr. |
|---|---|---|---|---|---|---|
| 40 | 48.0 | 1.56 | 0.47 | 32 | 0.31 | 533-0040-0000 |
| 45 | 53.0 | 1.39 | 0.42 | 35 | 0.35 | 533-0045-0000 |
| 50-51 | 58.0 | 1.25 | 0.38 | 38 | 0.39 | 533-0050-0000 |
| 60 | 68.0 | 1.05 | 0.32 | 44 | 0.45 | 533-0060-0000 |
| 63-65 | 73.0 | 0.97 | 0.29 | 47 | 0.49 | 533-0065-0000 |
| 70 | 79.0 | 0.90 | 0.19 | 50 | 0.52 | 533-0070-0000 |
| 75-76 | 84.0 | 0.84 | 0.18 | 53 | 0.55 | 533-0075-0000 |
| 80 | 89.0 | 0.79 | 0.16 | 56 | 0.59 | 533-0080-0000 |
| 89-90 | 99.0 | 0.71 | 0.15 | 62 | 0.66 | 533-0090-0000 |
| 100-102 | 109.0 | 0.64 | 0.14 | 68 | 0.86 | 533-0100-0000 |
| 110 | 119.0 | 0.58 | 0.13 | 74 | 0.94 | 533-0110-0000 |
| 120 | 129.0 | 0.53 | 0.12 | 80 | 1.02 | 533-0120-0000 |
| 125-127 | 134.0 | 0.51 | 0.11 | 83 | 1.07 | 533-0125-0000 |
| 130 | 139.0 | 0.49 | 0.11 | 86 | 1.10 | 533-0130-0000 |
| 140 | 149.0 | 0.46 | 0.10 | 92 | 1.18 | 533-0140-0000 |
| 150-152 | 159.0 | 0.43 | 0.08 | 98 | 1.30 | 533-0150-0000 |
| 160 | 169.0 | 0.40 | 0.07 | 104 | 1.38 | 533-0160-0000 |
| 170 | 179.0 | 0.38 | 0.07 | 108 | 1.45 | 533-0170-0000 |
| 178-180 | 189.0 | 0.36 | 0.06 | 116 | 1.54 | 533-0180-0000 |
| 200-203 | 209.0 | 0.32 | 0.06 | 128 | 1.73 | 533-0200-0000 |
| 225 | 234.0 | 0.29 | 0.05 | 143 | 1.92 | 533-0225-0000 |
| 250 | 259.0 | 0.26 | 0.05 | 158 | 2.13 | 533-0250-0000 |
| 280 | 289.0 | 0.23 | 0.04 | 176 | 2.38 | 533-0280-0000 |
| 300 | 309.0 | 0.22 | 0.04 | 188 | 2.55 | 533-0300-0000 |
| 315 | 324.0 | 0.21 | 0.04 | 197 | 2.68 | 533-0315-0000 |
| 325 | 334.0 | 0.20 | 0.04 | 203 | 2.76 | 533-0325-0000 |
| 350 | 359.0 | 0.19 | 0.03 | 218 | 2.97 | 533-0350-0000 |
| 400 | 409.0 | 0.16 | 0.03 | 248 | 3.83 | 533-0400-0000 |
Overtryk og undertryk er anbefalede driftsgrænser. Bøjningsradius måles gennem slangebuen indvendigt. Ret til tekniske ændringer forbeholdes. Alle værdier er bestemt ved ca. 20 °C.




