


NORRES AIRDUC® PUR 350 FOOD-AS (MD)
Antistatic food-grade PUR hose for conveying powders and granulates
NORRES AIRDUC® PUR 350 FOOD-AS (MD) is a flexible and durable transport and suction hose made of antistatic polyurethane (Pre-PUR®), developed for food and pharmaceutical processing.
It is designed for the transport of powder, granulates, and dry bulk materials such as rice, cereals, sugar, flour, coffee, tea, and milk powder, as well as for mixers, dryers, mills, and packaging machines in potentially explosive environments.
Strong and hygienic construction
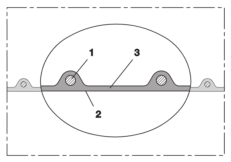
The AIRDUC® profile wall consists of an embedded spring steel wire (1) and an antistatic ether-PUR wall (2) with a smooth inner surface (3), ensuring high flexibility, low weight, and excellent flow characteristics.
The hose is resistant to microbes and hydrolysis, odourless and tasteless, and highly resistant to oils, fuels, and chemicals.
Temperature range: −40 °C to +90 °C (short term up to +125 °C).
Wall thickness approx. 0.7 mm.
Approvals and standards
Complies with EU 10/2011, EC 1935/2004, EU 2015/174, and FDA 21 CFR 177.2600.
Manufactured according to GMP EC 2023/2006 and compliant with RoHS and REACH.
Antistatic according to ISO 8031 (< 10⁹ Ω) and approved for ATEX zones 20, 21, and 22 (inside for dust) as well as zones 0–2 (for gases and liquids) in accordance with TRGS 727 and ATEX 2014/34/EU.
Applications
Typical uses include:
– Food and pharmaceutical production
– Pneumatic transport of powders and granulates
– Extraction and conveying in dryers and mills
– Big bag (FIBC) filling and discharge systems
– Cleanroom and medical equipment ventilation
Recommended accessories
For safe installation and hygienic connection, the following NORRES accessories are recommended:
- CLAMP 213 / 217 / 210 – stainless steel clamps for food and antistatic hoses
- CONNECT 244 / 245 FOOD – hygienic food fittings
- CONNECT 270-271 – stainless steel standard couplings
- CONNECT 228 / 240 / 241 FOOD – transition and Tri-Clamp fittings
Need technical advice?
Contact us for guidance on selection, installation, and integration of flexible ATEX- and food-grade hoses in process and transport systems.
FAQ: NORRES AIRDUC® PUR 350 FOOD-AS (MD)
What is the hose used for?
For conveying and extraction of dry foods, granulates, and powders in hygienic or potentially explosive environments.
Is it food approved?
Yes – it complies with EU and FDA requirements and is odourless and tasteless.
Can it be used in ATEX zones?
Yes – the hose is antistatic and approved for zones 20–22 (dust) and zones 0–2 (gas/liquid).
Related links
Technical specifications
| Inside diameter (mm) | Outside diameter (mm) | Pressure (bar) | Weight (kg/m) | Length (m) | Order no. |
|---|---|---|---|---|---|
| 25 | 32.0 | 2.45 | 0.20 | 5–15 | 350-0025-0000 |
| 32 | 39.0 | 1.93 | 0.25 | 5–15 | 350-0032-0000 |
| 38 | 45.0 | 1.64 | 0.29 | 5–15 | 350-0038-0000 |
| 50 – 51 | 57.0 | 1.25 | 0.38 | 5–15 | 350-0050-0000 |
| 65 | 70.0 | 0.97 | 0.48 | 5–15 | 350-0065-0000 |
| 75 – 76 | 82.0 | 0.84 | 0.55 | 5–15 | 350-0075-0000 |
| 100 – 102 | 107.0 | 0.64 | 0.86 | 5–15 | 350-0100-0000 |
| 125 – 127 | 132.0 | 0.51 | 1.06 | 5–15 | 350-0125-0000 |
| 150 – 152 | 157.0 | 0.43 | 1.29 | 5–15 | 350-0150-0000 |
| 200 – 203 | 207.0 | 0.32 | 1.71 | 5–15 | 350-0200-0000 |
| 250 | 257.0 | 0.26 | 2.11 | 5–15 | 350-0250-0000 |
Recommended operating limits for pressure and vacuum. Bending radius measured through the inner curve of the hose. Subject to technical modifications. All values at 20 °C.




