


NORRES BARDUC® PUR-INOX 382 FOOD-AS (XHD)
Antistatic food- and pharmaceutical-grade PUR hose with stainless steel spiral – super heavy duty
NORRES BARDUC® PUR-INOX 382 FOOD-AS (XHD) is an extremely robust, antistatic and flexible food-grade hose made of ether-based polyurethane (Pre-PUR®) with an embedded stainless-steel spring wire (INOX). The hose features a smooth interior and exterior surface for optimal flow and easy cleaning in hygienic environments.
Applications
Developed for use in the food and pharmaceutical industries for conveying and suction of dry products such as rice, cereals, sugar, milk powder, flour, coffee, tea, powder and granulate. Also suitable for packaging machines, dosing and vacuum systems, dryers, mixers, big-bag unloading systems and use in explosion-hazard areas (zones 20/21/22 inside).
Properties and approvals
- Super heavy-duty construction with very high pressure, vacuum and compression resistance.
- Permanently antistatic wall: electrical and surface resistance <10⁹ Ω (ISO 8031, TRGS 727, NFPA 652).
- Food-grade approved according to EU 10/2011, EC 1935/2004, EU 2015/174 and FDA 21 CFR 177.1210 / 175.300.
- Odourless, tasteless and resistant to microbes, hydrolysis, oil, gasoline and chemicals.
- Complies with ATEX Directive 2014/34/EU (1999/92/EC) for conveying of combustible dusts and liquids in zones 20–22 (inside) and gases in zones 0–2.
- Temperature range: −40 °C to +90 °C.
- Manufactured in accordance with GMP (EC 2023/2006) and compliant with RoHS and REACH.
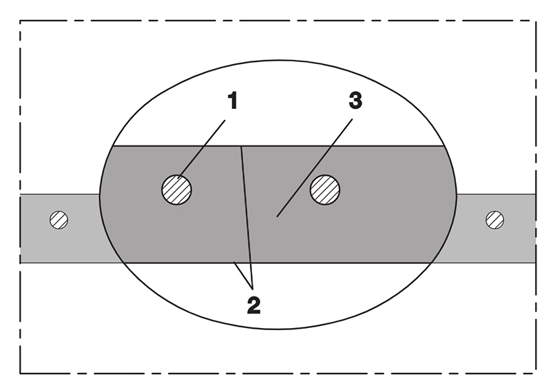
Construction
1 = Stainless-steel spring wire (INOX)
2 = Wall made of permanently antistatic ether-based polyurethane (Pre-PUR®)
3 = Smooth inner and outer surface (BARDUC® design) for optimal flow and hygienic cleaning
Recommended accessories
- CLAMP 211 – stainless-steel hose clamp with equipotential bonding
Contact us for professional advice on proper installation, equipotential bonding and ATEX-compliant integration.
Need technical assistance?
Get expert guidance on the selection, installation and integration of flexible antistatic and food-grade hoses for process and conveying systems.
FAQ: NORRES BARDUC® PUR-INOX 382 FOOD-AS (XHD)
What is this hose used for?
For conveying, vacuum and suction of dry food, powders and granulates in food and pharmaceutical systems as well as ATEX zones.
Is the hose antistatic?
Yes – the wall is permanently antistatic (<10⁹ Ω) and suitable for ATEX zones 20/21/22 (inside).
Is it food-grade?
Yes – tested and certified according to EU 10/2011, EC 1935/2004, EU 2015/174 and FDA 21 CFR 177.1210 / 175.300.
What are the temperature and pressure limits?
From −40 °C to +90 °C. Pressure and vacuum limits depend on diameter – see table below.
Which accessories are recommended?
CLAMP 211 ensures safe, hygienic and antistatic connection with equipotential bonding.
Related links
Technical specifications
| Inner Ø (mm) | Outer Ø (mm) | Pressure (bar) | Vacuum (bar) | Bending radius (mm) | Weight (kg/m) | Order No. |
|---|---|---|---|---|---|---|
| 32 | 40.00 | 5.500 | 1.000 | 144 | 0.45 | 382-0032-1014 |
| 38 | 46.00 | 5.500 | 1.000 | 171 | 0.59 | 382-0038-1014 |
| 40 | 48.00 | 5.500 | 1.000 | 180 | 0.65 | 382-0040-1014 |
| 50–51 | 58.00 | 5.000 | 1.000 | 225 | 0.96 | 382-0050-1014 |
| 60 | 68.00 | 5.000 | 1.000 | 270 | 1.12 | 382-0060-1014 |
| 63–65 | 73.00 | 5.000 | 1.000 | 293 | 1.21 | 382-0065-1014 |
| 75–76 | 83.00 | 5.000 | 1.000 | 338 | 1.38 | 382-0075-1014 |
| 100–102 | 110.00 | 4.000 | 0.800 | 500 | 1.80 | 382-0100-1014 |
Overpressure and underpressure values are recommended operating limits. The bending radius is measured through the inner hose curve. Technical modifications reserved. All values determined at ≈ 20 °C.




