


NORRES PROTAPE® PUR 330 AS (LD)
Antistatic PUR hose for dust, gas and process extraction
NORRES PROTAPE® PUR 330 AS (LD) is a lightweight, reinforced and antistatic polyurethane hose designed for the transport and extraction of gases, dust, fibres and powders in industrial environments with explosion risk. It combines high flexibility and low weight with excellent abrasion resistance, chemical durability and low surface resistance – ideal for use in ATEX zone 22.
Performance and applications
The hose is used for extraction in process systems, dust collection, PCB drilling machines, filter and dedusting units, as well as for paint mist and chemical vapours. It is also suitable for cleanroom ventilation, surface preparation, blasting and sanding systems. The hose is microbe-resistant, flame-retardant (DIN 4102-B1, UL94-HB) and flexible down to −40 °C. Temperature range: −40 °C to +90 °C (short-term +125 °C).
Certifications and construction
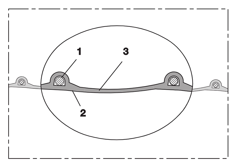
PROTAPE® PUR 330 AS (LD) is a tape hose with built-in spring steel wire (1), antistatic PUR wall (2) and outer layer (3) made of premium ester-polyurethane (Pre-PUR®).
Complies with ATEX 2014/34/EU, TRGS 727, RoHS, REACH and ISO 8031. Electrical resistance < 10⁹ Ω (10⁸–10⁹ Ω according to NFPA 652). Suitable for ATEX zone 22 (inside) and zone 1/2 (for gases and non-flammable liquids).
Need technical guidance on ATEX hoses?
Contact us for professional support in selecting conductive hoses for dust extraction, ventilation and chemical process systems in ATEX zones.
FAQ: PROTAPE® PUR 330 AS (LD)
What is the hose used for?
For extraction of dust, fumes, oil and chemical vapours and small particles in process, cleanroom and ATEX installations.
Is the hose ATEX approved?
Yes – the wall is permanently antistatic according to ISO 8031 and TRGS 727, suitable for zones 1, 2 and 22.
How does 330 AS differ from 301 AS?
The 330 AS version has a slightly thicker wall (0.6 mm) and higher durability for industrial use, while 301 AS (XLD) is designed for ultra-lightweight applications.
Related links
Technical specifications
| Inner Ø (mm) | Outer Ø (mm) | Pressure (bar) | Vacuum (bar) | Bending radius (mm) | Weight (kg/m) | Length (m) | Order no. |
|---|---|---|---|---|---|---|---|
| 25 | 30.0 | 1.61 | 0.54 | 20 | 0.15 | 10 | 330-0025-1002 |
| 38 | 43.0 | 1.08 | 0.36 | 26 | 0.22 | 10 | 330-0038-1002 |
| 50–51 | 59.0 | 0.82 | 0.22 | 33 | 0.37 | 10 | 330-0050-1002 |
| 75–76 | 83.0 | 0.55 | 0.15 | 46 | 0.53 | 10 | 330-0075-1002 |
| 100–102 | 110.0 | 0.42 | 0.08 | 58 | 0.67 | 10 | 330-0100-1002 |
| 125–127 | 135.0 | 0.34 | 0.07 | 71 | 0.83 | 10 | 330-0125-1002 |
| 150–152 | 160.0 | 0.28 | 0.06 | 83 | 0.99 | 10 | 330-0150-1002 |
| 200–203 | 210.0 | 0.21 | 0.03 | 108 | 1.33 | 10 | 330-0200-1002 |
| 250 | 258.0 | 0.17 | 0.03 | 133 | 1.64 | 10 | 330-0250-1002 |
Overpressure and underpressure are recommended threshold operating values. The bending radius is measured through the inside of the hose arch. Subject to technical modifications. All values determined at 20 °C and approximate.




