


NORRES TIMBERDUC® PUR 532 AS (LD)
Antistatic and flame-retardant PUR hose for the wood and furniture industry – medium duty
NORRES TIMBERDUC® PUR 532 AS (LD) is a highly flexible, antistatic, and flame-retardant suction and transport hose designed for the extraction of wood dust and chips in wood and furniture production. The hose is compressible 3:1, abrasion-resistant, provides good chemical resistance, and has a smooth inner wall for efficient, low-friction airflow in extraction and filtration systems.
Applications
The hose is typically used for:
- Extraction of wood dust and chips at saws, planers, edge processing, and milling machines
- Dedusting and filter systems in wood processing and furniture production
- Extraction from parquet sanders, CNC machines, and surface treatment processes
- Oil mist extraction and pneumatic transport systems
- Explosion hazardous areas with combustible dust (Zone 22)
Technical note: The hose is suitable when dust and chips transported inside may be classified as ATEX zone 20, 21, or 22 inside the hose (the material flow). The external ATEX zone classification is determined separately in the facility’s risk assessment.
Properties and approvals
- Medium-duty construction – highly flexible and compressible (3:1)
- High abrasion resistance and resistant to microbes
- Permanently antistatic wall – surface resistance < 10⁹ Ω according to ISO 8031 (TRGS 727, NFPA 652)
- Flame-retardant according to DIN 4102-B1
- Good resistance to oil, gasoline, and chemicals
- Temperature range: −40 °C to +90 °C (short-term up to +125 °C)
- Complies with ATEX 2014/34/EU and TRGS 727 for pneumatic systems with combustible dust
- RoHS and REACH compliant
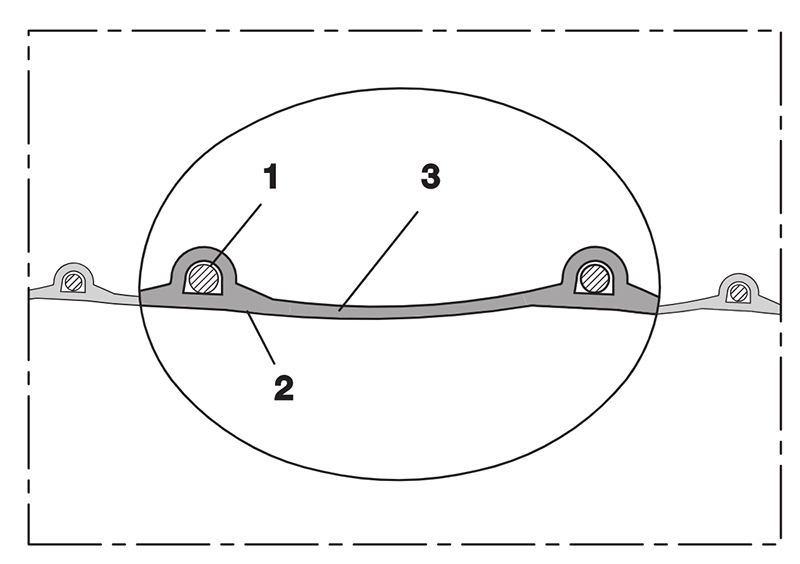
Construction
1 = Spring steel wire, permanently embedded in the wall
2 = Wall made of permanently antistatic premium polyurethane (Pre-PUR®), resistant to aggressive wood types and preservatives
3 = PROTAPE® hose profile with smooth inside wall for low friction and easy cleaning
Wall thickness approx. 0.6 mm. Other lengths and dimensions available upon request.
Technical note
In the wood industry, ATEX requirements are combined with industry-specific guidelines: Zone classification typically follows EN 60079-10-2 and TRGS 727 (electrostatics). For wood dust hoses, DIN 26057 and BG guidelines for extraction systems are standard. TIMBERDUC® 532 AS (LD) meets these requirements with a permanently antistatic wall, flame-retardancy (DIN 4102-B1), and mechanical durability. Proper equipotential bonding/grounding and a continuous conductive connection between the machine, hose, and filter are essential in ATEX installations.
Recommended accessories
- CLAMP 210 / 212 / 213 / 217 – hose clamps for equipotential bonding
- CONNECT 223 / 228 / 270–271 – adapter and molded couplings
Need technical assistance?
Contact us for advice on proper hose selection, assembly, equipotential bonding, and ATEX integration in your extraction and filter systems.
FAQ: NORRES TIMBERDUC® PUR 532 AS (LD)
What is this hose used for?
For extracting wood dust and chips in the wood and furniture industry (saws, planers, milling and edge processing machines, parquet sanders, CNC), as well as in dedusting and filter systems, also in areas with Zone 22 dust.
What about ATEX?
The hose is used where the material flow inside may create an explosion hazard (classified as ATEX zone 20/21/22 inside the hose). The external zone is set in your ATEX risk assessment; proper grounding/bonding is required.
Is the hose antistatic and flame-retardant?
Yes. Permanently antistatic wall (< 10⁹ Ω, ISO 8031 / TRGS 727 / NFPA 652) and flame-retardant according to DIN 4102-B1.
What are the temperature and pressure/vacuum limits?
Temperature −40 °C to +90 °C (short-term +125 °C). Pressure and vacuum values depend on diameter (see technical table).
What accessories are recommended?
CLAMP 210/212/213/217 and CONNECT 223/228/270–271 depending on equipment and need for equipotential bonding.
Related links
Technical specifications
| Inner diameter (mm) | Outer diameter (mm) | Pressure (bar) | Vacuum (bar) | Bending radius (mm) | Weight (kg/m) | Order code |
|---|---|---|---|---|---|---|
| 40 | 47.0 | 1.02 | 0.34 | 27 | 0.26 | 532-0040-0000 |
| 44-45 | 52.0 | 0.91 | 0.30 | 30 | 0.29 | 532-0045-0000 |
| 50-51 | 58.0 | 0.82 | 0.22 | 33 | 0.36 | 532-0050-0000 |
| 55 | 63.0 | 0.76 | 0.20 | 36 | 0.39 | 532-0055-0000 |
| 60 | 68.0 | 0.69 | 0.18 | 38 | 0.43 | 532-0060-0000 |
| 63-65 | 73.0 | 0.64 | 0.17 | 41 | 0.47 | 532-0065-0000 |
| 70 | 78.0 | 0.59 | 0.16 | 43 | 0.50 | 532-0070-0000 |
| 75-76 | 83.0 | 0.55 | 0.15 | 46 | 0.53 | 532-0075-0000 |
| 80 | 88.0 | 0.52 | 0.14 | 48 | 0.57 | 532-0080-0000 |
| 89-90 | 98.0 | 0.46 | 0.12 | 53 | 0.63 | 532-0090-0000 |
| 100-102 | 108.0 | 0.42 | 0.08 | 58 | 0.66 | 532-0100-0000 |
| 110 | 118.0 | 0.38 | 0.07 | 63 | 0.73 | 532-0110-0000 |
| 120 | 128.0 | 0.35 | 0.07 | 68 | 0.79 | 532-0120-0000 |
| 125-127 | 133.0 | 0.34 | 0.07 | 71 | 0.82 | 532-0125-0000 |
| 130 | 138.0 | 0.32 | 0.06 | 73 | 0.85 | 532-0130-0000 |
| 140 | 148.0 | 0.30 | 0.06 | 78 | 0.92 | 532-0140-0000 |
| 150-152 | 158.0 | 0.28 | 0.06 | 83 | 0.98 | 532-0150-0000 |
| 160 | 168.0 | 0.26 | 0.05 | 88 | 1.04 | 532-0160-0000 |
| 178-180 | 188.0 | 0.23 | 0.05 | 98 | 1.17 | 532-0180-0000 |
| 200-203 | 208.0 | 0.21 | 0.03 | 108 | 1.54 | 532-0200-0000 |
| 225 | 233.0 | 0.19 | 0.03 | 121 | 1.75 | 532-0225-0000 |
| 250 | 258.0 | 0.17 | 0.03 | 133 | 1.90 | 532-0250-0000 |
| 280 | 288.0 | 0.15 | 0.02 | 148 | 2.15 | 532-0280-0000 |
| 300 | 309.0 | 0.14 | 0.02 | 159 | 2.53 | 532-0300-0000 |
| 315 | 324.0 | 0.13 | 0.02 | 167 | 2.65 | 532-0315-0000 |
| 350 | 359.0 | 0.12 | 0.02 | 184 | 2.95 | 532-0350-0000 |
| 400 | 409.0 | 0.11 | 0.02 | 209 | 3.36 | 532-0400-0000 |
Pressure and vacuum are recommended operating limits. Bending radius is measured through the inside of the hose bend. Technical changes reserved. All values determined at approx. 20 °C.





